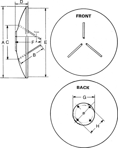
dimension sketching for parabolic solar-concentrator

Photo 129
A = 1000 mm Ø       B = 450 mm       C = 705 mm Ø       D = 160 mm       E = 980 mm Ø
F = 425 mm       G = 130 mm Ø       H = 100 mm Ø       I = approx. 370 mm